二氧化硫流量计型号
厂家直销,售后无忧!!!二氧化硫流量计
厂家直销,售后无忧!!!二氧化硫流量计
易卖工控网(www.ymgk.com)提供”二氧化硫流量计型号”,产品详情:品牌/厂家:奥科、型号:AK-LUGB、成色:全新、货期:现货 1天内发货、保修:180天,更多产品详情就上易卖工控网。
二氧化硫流量计
江苏奥科仪表有限公司
T:0517-86919886/13915190011 柏经理
二氧化硫流量计--生产车间

一,二氧化硫流量计概述:
AK-LUGB型 二氧化硫流量计是采用压电应力式传感器,在柱体下游便形成了交错排列的两列旋涡即“涡街"。旋涡分离的频率与柱侧介质流速成正比。采用卡门涡街原理制造,具有测量精度高、量程宽、功耗低、安装方便、操作简单、压力损失小等优点,可测量工况体积流量或标准体积流量(一体化智能温度、压力补偿),根据用户需要,可附带脉冲或4~20mADC电流输出功能。是目前比较理想的二氧化碳计量仪表。
二、二氧化硫流量计使用时常见故障及处理方法:
通电时无指示、无输出信号
可能存在的问题:(1)传感器供电不正确;(2)管道内无流量或流量太小
相应的处理方法:(1)检查接线,使供电正常;(2)通知工艺部门打开阀门
三,二氧化硫流量计原理:
在流体中设置三角柱型旋涡发生体,则从旋涡发生体两侧交替地产生有规则的旋涡,这种旋涡称为卡门旋涡,如右图所示,旋涡列在旋涡发生体下游非对称地排列。

涡街流量计是根据卡门(Karman)涡街原理测量气体、蒸汽或液体的体积流量、标况的体积流量或质量流量的体积流量计。并可作为流量变送器应用于自动化控制系统中。
涡街流量计是应用流体振荡原理来测量流量的,流体在管道中经过涡街流量变送器时,在三角柱的旋涡发生体后上下交替产生正比于流速的两列旋涡,旋涡的释放频率与流过旋涡发生体的流体平均速度及旋涡发生体特征宽度有关,可用下式表示:
f=Stv/d
当雷诺数Re在102~105范围内,St值约为0.2,因此,在测量中,要尽量满足流体的雷诺数在102~105,旋涡频率f=0.2v/d。
四,二氧化硫流量计安装方式:
仪表的上下游直管段长度要求见图(三) DN为仪表公称口径 单位:mm
传感器上游 | 前后直管段长度 | 传感器上游 | 前后直管段长度 |
同心收缩 |
| 一个90度 弯头 |
|
同一平面两 |
| 不同平面两 |
|
同心扩管 |
| 调节阀半开 |
|
1.仪表在在管道上可以水平、垂直或倾斜安装。
五,二氧化硫流量计技术参数:
公称通径(mm) | 15,20,25,32,40,50,65,80,100,125,150,200,250,300,(300~1000插入式) |
公称压力(MPa) | DN15-DN200 4.0(>4.0协议供货),DN250-DN300 1.6(>1.6协议供货) |
介质温度(℃) | 压电式:-40~260,-40~320;电容式: -40~300, -40~400,-40~450(协议订货) |
本体材料 | 1Cr18Ni9Ti,(其它材料协议供货) |
允许振动加速度 | 压电式:0.2g 电容式:1.0~2.0g |
***度 | ±1%R,±1.5%R,±1FS;插入式:±2.5%R,±2.5%FS |
范围度 | 1:6~1:30 |
供电电压 | 传感器:+12V DC,+24V DC;变送器:+12V DC ,+24V DC;电池供电型:3.6V电池 |
输出信号 | 方波脉冲(不包括电池供电型):高电平≥5V,低电平≤1V;电流:4~20mA |
压力损失系数 | 符合JB/T9249标准 Cd≤2.4 |
防爆标志 | 本安型:ExdⅡia CT2-T5隔爆型:ExdⅡCT2-T5 |
防护等级 | 普通型IP65 潜水型 IP68 |
环境条件 | 温度-20℃~55℃,相对湿度5%~90%,大气压力86~106kPa |
适用介质 | 气体、液体、蒸汽 |
传输距离 | 三线制脉冲输出型:≤300m,两线制标准电流输出型 (4~20mA):负载电阻≤750Ω |
六、二氧化硫流量计安装要求:
1、合理选择安装场所和环境。避开强电力设备,高频设备,强电源开关设备;避开高温热源和辐射源的影响,避开强烈震动场所和强腐蚀 环境等,同时要考虑安装维修方便。
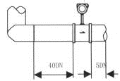
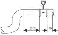
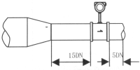
2、上下游必须有足够的直管段。若传感器安装点的上游在同一平面上有二个90°弯头,则:上游直管段≥25D,下游直管段≥5D 。若传感器安装点的上游在不同平面上有二个90°弯头,则:上游直管段≥40D,下游直管段≥5D 。调节阀应安装在传感器的下游5D以外处,若必须安装在传感器的上游,传感器上游直管段应不小于50D,下游应有不小于5D。
3、安装点上下游的配管应与传感器同心,同轴偏差应不小于0.5DN。
4、管道采取减振动措施。传感器尽量避免安装在振动较强的管道上,特别是横向振动。若不得已要安装时,必须采取减振措施,在传感器的上下游2D处分别设置管道紧固装置,并加防振垫。
5.在水平管道上安装是流量传感器zui常用的安装方式。测量气体流量时,若被测气体中含有少量的液体,传感器应安装在管线的较高处。测量液体流量时,若被测液体中含有少量的气体,传感器应安装在管线的较低处。
6.传感器在垂直管道的安装。测量气体流量时,传感器可以安装在垂直管道上,流向不限。若被测气体中含有少量的液体,气体流向应由下向上。测量液体流量时,液体流向应由下向上:这样不会将液体重量额外附加在探头上。
7、传感器在水平管道的侧装。无论测量何种流体,传感器可以在水平管道上侧装,特别是测量过热蒸汽,饱和蒸汽和低温液体,若条件允许zui好采用侧装,这样流体的温度对放大器的影响较小。
8.传感器在水平管道的倒装。一般情况下不推荐用此安装方法。此安装方法不适用于测量一般气体、过热蒸汽。可用于测量饱和蒸汽,适用于测量高温液体或需经常清洗管道的情况。
9.传感器在有保温层管道上的安装。测量高温蒸汽时,保温层zui多不能超过支架高度的三分之一。
10.测压点和测温点的选择。根据测量的需要,需在传感器附近测量压力和温度时,测压点应在传感器下游的3-5D处,测温点应在传感器下游的6-8D处。
