甲醇流量计厂商直销
厂家直销,售后无忧!!!甲醇流量计
厂家直销,售后无忧!!!甲醇流量计
易卖工控网(www.ymgk.com)提供”甲醇流量计厂商直销”,产品详情:品牌/厂家:奥科、型号:AK-LDE、成色:全新、货期:现货 1天内发货、保修:180天,更多产品详情就上易卖工控网。
甲醇流量计
江苏奥科仪表有限公司
T:0517-86919886/163915190011 柏经理
AK-LDE甲醇流量计:广泛适用于石油、化工、冶金、热力、纺织、造纸等行业对一般导电液体(自来水、污水、盐水等)的流量外,还可测量液固两相流,高粘度液流及盐类、强酸、强碱等具有腐蚀性液体的流量。


↑一体式电磁流量计 ↑分体式电磁流量计


一、甲醇流量计工作原理:
AK-LDE电磁流量计的工作原理是基于法拉第电磁感应定律。在电磁流量计中,测量管内的导电介质相当于法拉第试验中的导电金属杆,上下两端的两个电磁线圈产生恒定磁场。当有导电介质流过时,则会产生感应电压。管道内部的两个电极测量产生的感应电压。测量管道通过不导电的内衬(橡胶,特氟隆等)实现与流体和测量电极的电磁隔离,如图所示。

二、甲醇流量计优势及独特卖点:
1.传感器zui重要的部件-线圈作zui优化的设计,并通过zui严格的实流试验,切实保证产品的测量精度
2.信号电极作彻底的静电屏蔽处理,保证小信号不会受线圈的干扰,保证低流速的测量精度
3.线圈与外界作隔离处理,保证线圈长期的绝缘强度,也就保证传感器的长期测量精度
4.传感器所有的焊接工艺都采用氩弧焊工艺,虽然成本较高,但能保证焊接的可靠性(焊接是传感器的zui主要的生产工艺),特别是安装线圈后的zui后一道焊接工序,用氩弧焊工艺能保证已安装的线圈不被损伤
5.采用接地电极结构,形成一个平衡电极平面,保证整个测量平均速度的过程都被限制在平衡电极平面之内进行,能很好的消除电气噪声干扰,提供***的测量结果
6.采用定制的双层屏蔽电缆
7.可编程频率低频矩形波励磁,提高了流量测量的稳定性,功率损耗低
8.特殊介质测量(如浆液)采用高频励磁,消除杂波干扰
9.采用16位嵌入式微处理器,运算速度快,精度高
10.全数字处理,抗干扰能力强,测量可靠,精度高
11.超低EMI开关电源,适用电源电压变化范围大,抗EMC性能好
12.用单块电路板完成所有功能设计,采用SMD器件和表面帖装SMT)技术,电路可靠性高
13.高清晰度背光中文LCD显示,显示累积流量、瞬时流量、流速、流量百分比等
14.菜单操作,使用方便,操作简单,易学易懂
15.双向测量系统,内部具有三个积算器可分别显示正向累计量、反向累计量及差值积算量
16.具有自检与自诊断功能,并在屏幕上显示
17.独特的防雷设计
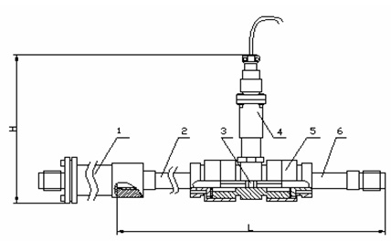
三、甲醇流量计解剖图:
四、甲醇流量计选用要点:
电磁流量计应用领域广泛。大口径仪表较多应用于给排水工程,中小口径常用于固液双相等难测流体或高要求场所,如测量造纸工业纸浆液和黑液、有色冶金业的矿浆、选煤厂的煤浆、化学工业的强腐蚀液体以及钢铁工业高炉风口冷却水控制和监漏,长距离管道煤的水力输送的流量测量和控制。小口径、微小口径常用于医药工业、食品工业、生物工程等有卫生要求的场所。
1、根据一体型和分离型电磁流量计的特点,选择合适的类型。一体型电磁流量计安装敷线方便,精度中等,不宜在地面以下安装,以防转换器被水淹没。分离型电磁流量计,***度较高,转换器与传感器异地安装,更适合现场环境比较差(如有害、有毒、易受水淹没等场所)的场合,但安装、敷线较严格,否则易引入干扰信号。
2、选择合适的电极形式。对于不产生结晶、结疤、不沾污电极的介质,可用标准电极,否则用清垢电极或有清洗连接装置的电极。对于测污泥场合,还可选用可换式电极。
3、根据被测介质的腐蚀性选择电极材料。
五、甲醇流量计概述:
1、测量不受流体密度、粘度、温度、压力和电导率变化的影响;
2、测量管内无阻碍流动部件,无压损,直管段要求较低。对浆液测量有独特的适应性;
3、合理选择传感器衬里和电极材料,即具有良好的耐腐蚀和耐磨损性;
4、转换器采用新颖励磁方式,功耗低、零点稳定、***度高。流量范围度可达150:1;
5、转换器可与传感器组成一体型或分离型;
6、转换器采用16位高性能微处理器,2x16LCD显示,参数设定方便,编程可靠;
7、流量计为双向测量系统,内装三个积算器:正向总量、反向总量及差值总量;可显示正、反流量,并具有多种输出:电流、脉冲、数字通讯、HART;
8、转换器采用表面安装技术(SMT),具有自检和自诊断功能;
9、测量精度不受流体密度、粘度、温度、压力和电导率变化的影响,传感器感应电压信号与平均流速呈线性关系,因此测量精度高。
10、测量管道内无阻流件,因此没有附加的压力损失;测量管道内无可动部件,因此传感器寿命极长。
11、由于感应电压信号是在整个充满磁场的空间中形成的,是管道载面上的平均值,因此传感器所需的直管段较短,长度为5倍的管道直径。
12、转换器采用国际zui新zui先进的单片机(MCU)和表面贴装技术(SMT),性能可靠,精度高,功耗低,零点稳定,参数设定方便。点击中文显示LCD,显示累积流量,瞬时流量、流速、流量百分比等。
13、双向测量系统,可测正向流量、反向流量。采用特殊的生产工艺和优质材料,确保产品的性能在长时候内保持稳定。
甲醇流量计量程范围确认
一般工业用电磁流量计被测介质流速以2~4m/s为宜,在特殊情况下,zui低流速应不小于0.2m/s,zui高应不大于8m/s。若介质中含有固体颗粒,常用流速应小于3m/s,防止衬里和电极的过分磨擦;对于粘滞流体,流速可选择大于2m/s,较大的流速有助于自动消除电极上附着的粘滞物的作用,有利于提高测量精度。
甲醇流量计分类:
为了适应不同工矿条件下使用,流量计分为:
1、一体式液晶显示循环水流量计:主要适用于高精度测量,防爆等级高的介质
2、分体式流量计:主要使用于远离测量地点的,液晶显示与流量计主体分离式的。
3 插入式流量计:主要使用于超大管道口径的流体介质测量,精度要求一般。
六、甲醇流量计选型表:
型号 | 通经(mm) | 流量范围(m3/h) | 口径(mm) | 口径(mm) | 流量范围(m3/h) |
AK-LDE15 | DN15 | 0.32-6.36 | AK-LDE/LCD450 | DN450 | 286.13-5722.65 |
AK-LDE20 | DN20 | 0.57-11.30 | AK-LDE/LCD500 | DN500 | 353.25-7065.00 |
AK-LDE25 | DN25 | 0.88-17.66 | AK-LDE/LCD600 | DN600 | 508.68-10173.60 |
AK-LDE32 | DN32 | 1.45-28.94 | AK-LDE/LCD700 | DN700 | 692.37-13847.40 |
AK-LDE40 | DN40 | 2.26-45.22 | AK-LDE/LCD800 | DN800 | 904.32-18086.40 |
AK-LDE50 | DN50 | 3.53-70.65 | AK-LDE/LCD900 | DN900 | 1144.53-22890.60 |
AK-LDE65 | DN65 | 5.97-119.40 | AK-LDE/LCD1000 | DN1000 | 1413.00-28260.00 |
AK-LDE80 | DN80 | 9.04-180.86 | AK-LDE/LCD1200 | DN1200 | 2034.72-40694.40 |
AK-LDE100 | DN100 | 14.13-282.60 | AK-LDE/LCD1400 | DN1400 | 2769.48-55389.60 |
AK-LDE125 | DN125 | 22.08-441.56 | AK-LDE/LCD1600 | DN1600 | 3617.28-72345.60 |
AK-LDE150 | DN150 | 31.79-635.85 | AK-LDE/LCD1800 | DN1800 | 4578.12-91562.40 |
AK-LDE/LCD200 | DN200 | 56.52-1130.40 | AK-LDE/LCD2000 | DN2000 | 5652.00-113040.00 |
AK-LDE/LCD250 | DN250 | 88.31-1766.25 | AK-LDE/LCD2200 | DN2200 | 6838.92-136778.40 |
AK-LDE/LCD300 | DN300 | 127.17-2543.40 | AK-LDE/LCD2400 | DN2400 | 8138.88-162777.60 |
AK-LDE/LCD350 | DN350 | 173.09-3461.85 | AK-LDE/LCD2600 | DN2600 | 9551.88-191037.60 |
AK-LDE/LCD400 | DN400 | 226.08-4521.60 |
特别推荐
双氧水流量计
江苏奥科仪表有限公司
一、双氧水流量计概述:
涡轮流量计(双氧水流量计)是一种精密流量测量仪表,与相应的流量积算仪表配套可用于测量液体的流量和总量。液体涡轮流量计广泛用于石油、化工、冶金、科研等领域的计量、控制系统。配备有卫生接头的液体涡轮流量计可以应用于制药行业。


流体流经传感器壳体,由于叶轮的叶片与流向有一定的角度,流体的冲力使叶片具有转动力矩,克服摩擦力矩和流体阻力之后叶片旋转,在力矩平衡后转速稳定,在一定的条件下,转速与流速成正比,由于叶片有导磁性,它处于信号检测器(由*磁钢和线圈组成)的磁场中,旋转的叶片切割磁力线,周期性的改变着线圈的磁通量,从而使线圈两端感应出电脉冲信号,此信号经过放大器的放大整形,形成有一定幅度的连续的矩形脉冲波,可远传至显示仪表,显示出流体的瞬时流量和累计量。在一定的流量范围内,脉冲频率f与流经传感器的流体的瞬时流量Q成正比,流量方程为:Q=3600×f/k
式中:
f——脉冲频率[Hz];
k——传感器的仪表系数[1/m],由校验单给出。若以[1/L]为单位Q=3.6×f/k
Q——流体的瞬时流量(工作状态下)[m3/h];
3600——换算系数。
每台传感器的仪表系数由制造厂填写在检定证书中,k值设入配套的显示仪表中,便可显示出瞬时流量和累积总量。
二、双氧水流量计技术参数:
公称口径: 管道式:DN4~DN200
插入式:DN100~DN2000
精度等级: 管道式:±0.5级,±1.0级
插入式:±1.5级、±2.5级
环境温度: -20℃~50℃
介质温度: 测量液体:-20℃~120℃
测量气体:-20℃~80℃
大气压力: 86KPa~106KPa
公称压力: 1.6 Mpa 、2.5Mpa 、6.4Mpa 、25Mpa
防爆等级: ExdIIBT4
连接方式: 螺纹连接、法兰夹装、法兰连接、插入式等
直管段要求:气体:上游直管段应≥10DN,下游直管段应≥5DN
液体:上游直管段应≥20DN,下游直管段应 ≥5DN
插入式:上游直管段应≥20DS,下游直管段应 ≥7DS(DS为管道实测内径)
LWGY液体涡轮流量计显示方式:
(1)远传显示: 脉冲输出、电流输出(配显示仪表)
(2)现场显示:8位LCD显示累积流量,单位(m3)
4位LCD显示瞬时流量,单位(m3/h)、电池电量、频率、流速
(3)温度压力补偿型:
A、显示标准瞬时流量及标准累计流量
B、显示当前压力、温度、电池电压
输出功能:
(1)脉冲输出,p-p值由供电电源确定
(2)4~20mA两线制电流输出
(3)单位体积脉冲输出及传感器原始脉冲输出
(4)带有RS485通迅接口
供电电源:
(1)DC5~24V
(2)标准型3V锂电池安装于仪表内部可连续使用八年以上
(3)温压补偿型3V锂电池安装于仪表内部可连续使用四年以上
传输距离:传感器至显示仪距离可达500m
三、双氧水流量计产品特点:
1. 高***度,一般可达±1%R、±0.5%R,高精度型可达±0.2%R;
2.重复性好,短期重复性可达0.05%~0.2%,正是由于具有良好的重复性,如经常校准或在线校准可得到极高的***度,在贸易结算中是优先选用的流量计;
3.具备仪表系数三点修正,智能补偿仪表系数非线性,并可进行现场修正;
4.所有有效数据掉电后保持10年不丢;
5. 范围度宽,中大口径可达1:20,小口径为1:10;
6.结构紧凑轻巧,安装维护方便,流通能力大;
7.适用高压测量,仪表表体上不必开孔,易制成高压型仪表;
8.***型传感器类型多,可根据用户特殊需要设计为各类***型传感器,例如低温型、双向型、井下型、混砂***型等
9.可制成插入型,适用于大口径测量,压力损失小,价格低,可不断流取出,安装维护方便;

四、双氧水流量计产品特点:
1. 热水流量计高***度,一般可达±1%R、±0.5%R,高精度型可达±0.2%R;
2.热水流量计重复性好,短期重复性可达0.05%~0.2%,正是由于具有良好的重复性,如经常校准或在线校准可得到极高的***度,在贸易结算中是优先选用的流量计;
3.热水流量计输出脉冲频率信号,适于总量计量及与计算机连接,无零点漂移,抗干扰能力强;
4. 热水流量计范围度宽,中大口径可达1:20,小口径为1:10;
5. 热水流量计适用高压测量,仪表表体上不必开孔,易制成高压型仪表;
6. 热水流量计是一体化表头可以显示的流量单位众多,有立方米,加仑,升,标准立方米,标准升等,可以设定固定压力、温度参数对气体进行补偿,对压力和温度参数变化不大的场合,可使用该仪表进行固定补偿。
五、 双氧水流量计基本参数与技术性能
技术性能:表1
仪表口径及连接方式 | 4、6、10、15、20、25、32、40采用螺纹连接 |
(15、20、25、32、40)50、65、80、100、125、150、200采用法兰连接 | |
精度等级 | ±0.5%R |
量程比 | 1:10;1:15;1:20 |
仪表材质 | 304不锈钢、316(L)不锈钢等 |
被测介质温度(℃) | -20~+120℃ |
环境条件 | 温度-10~ 55℃,相对湿度5%~90%,大气压力86~106Kpa |
输出信号 | 4-20mADC电流信号(LWGY-□C型) |
供电电源 | LWGY-□B型:自带锂电池供电(可连续使用3年);LWGY-□C型: 24VDC |
信号传输线 | 2×0.3(二线制) |
传输距离 | ≤1000m |
信号线接口 | 内螺纹M20×1.5(LWGY-□C型) |
防爆等级 | ExdIIBT6 |
防护等级 | IP65 |
六、双氧水流量计测量范围及工作压力:表2
仪表口径(mm) | 正常流量范围(m3/h) | 扩展流量范围(m3/h) | 常规耐受压力(MPa) | 特制耐压等级(MPa)(法兰连接方式) |
DN 4 | 0.04~0.25 | 0.04~0.4 | 6.3 | 12、16、25 |
DN 6 | 0.1~0.6 | 0.06~0.6 | 6.3 | 12、16、25 |
DN 10 | 0.2~1.2 | 0.15~1.5 | 6.3 | 12、16、25 |
DN 15 | 0.6~6 | 0.4~8 | 6.3、2.5(法兰) | 4.0、6.3、12、16、25 |
DN 20 | 0.8~8 | 0.45~9 | 6.3、2.5(法兰) | 4.0、6.3、12、16、25 |
DN 25 | 1~10 | 0.5~10 | 6.3、2.5(法兰) | 4.0、6.3、12、16、25 |
DN 32 | 1.5~15 | 0.8~15 | 6.3、2.5(法兰) | 4.0、6.3、12、16、25 |
DN 40 | 2~20 | 1~20 | 6.3、2.5(法兰) | 4.0、6.3、12、16、25 |
DN 50 | 4~40 | 2~40 | 2.5 | 4.0、6.3、12、16、25 |
DN 65 | 7~70 | 4~70 | 2.5 | 4.0、6.3、12、16、25 |
DN 80 | 10~100 | 5~100 | 2.5 | 4.0、6.3、12、16、25 |
DN 100 | 20~200 | 10~200 | 2.5 |
|
DN 125 | 25~250 | 13~250 | 1.6 | 2.5、4.0 |
DN 150 | 30~300 | 15~300 | 1.6 | 2.5、4.0 |
DN 200 | 80~800 | 40~800 | 1.6 | 2.5、4.0 |
七、双氧水流量计仪表分类:
1.按仪表功能分类,涡轮流量计可分为2大类,即:
■涡轮流量传感器/变送器
■智能一体化涡轮流量计
2.功能说明
■LWGY涡轮流量传感器/变送器
该类涡轮流量计产品本身不具备现场显示功能,仅将流量信号远传输出。流量信号可分为脉冲信号或电流信号(4-20mA);仪表价格低廉,集成度高,体积小巧,特别适用于与二次显示仪、PLC、DCS等计算机控制系统配合使用。
该类涡轮流量计产品均分为基本型和防爆型(ExdIIBT6)两种
仪表结构及安装方式:见(表二)、(图一)、(图二)、(图三)、(图四)
1、 仪表安装采用法兰连接、螺纹连接及夹装式;
2、 安装时液体流动方向应与传感器外壳上指示流向的箭头方向一致,且上游直管段应≥20DN,下游直管段应≥5DN(DN为管道内径)。
3、传感器应远离外界磁场,如不能避免,应采取必要的措施;
4、为了检修时不至影响液体的正常输送,应在传感器两端的直管段外安装旁通管道(如图四);
5、传感器露天安装时,请做好放大器插头的防水处理;
6、传感器与显示仪表的接线,应根据放大器的电源来选择接线方式,详见有关“使用说明书"。

图一 LWGY-4~10传感器结构及安装尺寸示意图

图二 LWGY-15~40传感器结构及安装尺寸示意图
图三 LWGY-50~200传感器结构及安装尺寸示意图

图四 合理的安装方式
八、双氧水流量计型号及规格说明:

注:DN15~DN40常规为螺纹连接,如希望采用法兰连接,请在“公称通径"后加“(FL)"
例如,选用一台法兰连接式非防爆型涡轮流量计测量水,需要脉冲信号输出,管道为DN40,要求精度0.5级,304不锈钢材质,仪表耐压16MPa测量范围为标准量程,其产品型号应为:LWGY-40(FL) /05/S/S/N/H16

奥科仪表售后服务:
1、我公司所售产品在一年之内出现质量问题的(非人为),负责免费维修。
2、质保期内如我公司产品出现任何质量问题,我公司负责免费维修或更换。
3、质保期内如用户使用不当,造成产品损坏,我公司负责维修,收取损坏部件成本费。
4、如用户需我公司现场服务,我公司以zui短时间到达用户现场。
5、本公司所售的产品所享受终生维护。
订货须知:
用户在定购流量仪表时要注意根据流体的公称口径、工作压力、工作温度、流量范围、流体种类和环境条件选择合适的规格。
需要我公司的显示仪表配套时,请参阅相应的说明书,选用合适的型号,或由我公司技术人员根据您提供的资料替您设计选型。需要传输信号用的电缆时注明规格长度。